Нужна помощь со стройкой!

Тема закрыта
880
.
Temp
BY ShelL

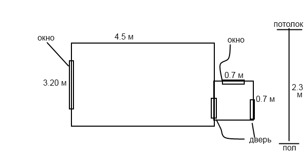
вот у меня появылось свое место, И Я РЕШИЛ ПОСТРОЯТЬ НА НЕМ МАЛЕНЬКОЕ ПОМЕЩЕНИЕ (ОФИС) ИЛИ что-то тыпа этого! составил меленький план! те кто что-то шарит в стройки подскажите какой фундамент поставить и вообще стоит ли строятся на столь не большом участке земли?

Прикрепленные файлы:
.

Смотря для каких целей офис

.
BY ShelL
Siege (01.07.2011/19:47)
Смотря для каких целей офис
иногда девку привести, возможно когдато поставлю сервер там! а так просто чтобы убежать от мира иного попить с друганами пивка, писать можно в тишине! дома часто шумно, писательство умирает
.

вырой канаву по пириметру по колено глубиной и шириной в два кирпича и залей бетоном или цементом вперемешку с щебнем или битыми камушками и достаточно вполне будет для основания, смотря ещё почва какая: чем мягче тем соответственно мощнее делай основание.

.

Можно еще в фундамент накидать куски арматуры. Будет прочнее.

.

Ну вы советчики сначала спросите в каком регионе человек живет какова местность где он хочет строиться. Высота офиса однозначно маленькая от 2.70 и выше делай.

.
BY ShelL

ну фундамент лунточный пущу! а вот сколько будет стоять оформление? примерно

.

Temp, в ЖКХ иди...

.

Temp, советую задать этот вопрос на специализированых форумах, в тут врядли кто-то что-то толковое ответит

.

да и точная геодезия местности нужна перед стройкой практически обязательно на месте там.

Всего: 29